当前位置: 首页 > 帮助中心  > 合同管理

4.司机要求退车怎么操作

2019/7/31 16:27:55

操作步骤一:

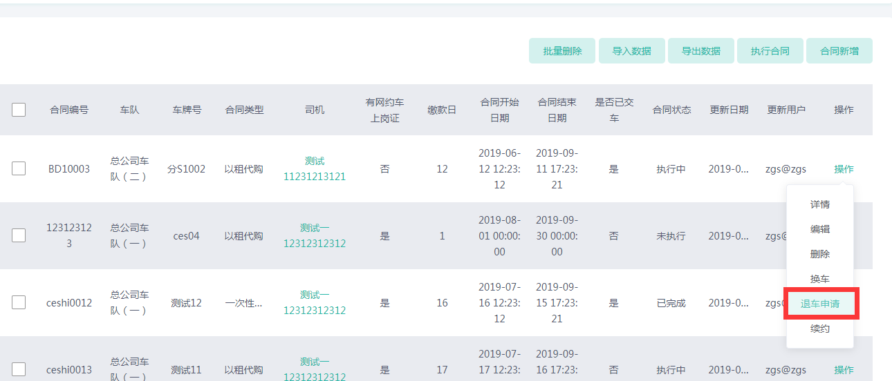
    首页-->合同管理-->合同列表-->操作-->退车申请

一、如图所示:

    1.点击“合同列表”

image.png

2.点击“操作”,选择“退车申请”

image.png

3.点击“确定”,即可开始合同结算

image.png