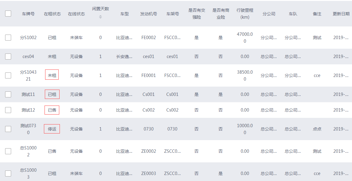
车辆状态分为:未租、已租、已售、停运四种。车辆的状态会根据绑定的合同自动改变,其中停运(过户、遗失、拖车、抵押)状态为管理员手动设置。
未租:1、未绑定合同车辆;
2、已绑定合同(非一次性购车),合同状态为“结算中”,但已经合同验车完成
已租:1、已绑定合同(非一次性购车),但合同状态为“执行中”;
2、已绑定合同(非一次性购车),但合同状态为“未执行”;
3、已绑定合同(非一次性购车),合同状态为“结算中”,且合同验车未完成
已售:已绑定“一次性购车”合同(不论合同状态是否是执行中或者结算完成,车辆状态“已售”不变)
停运(过户、遗失、拖车、抵押):暂不对外出租车辆,由未租车辆编辑车辆在租状态为“停运”而来

